Learning

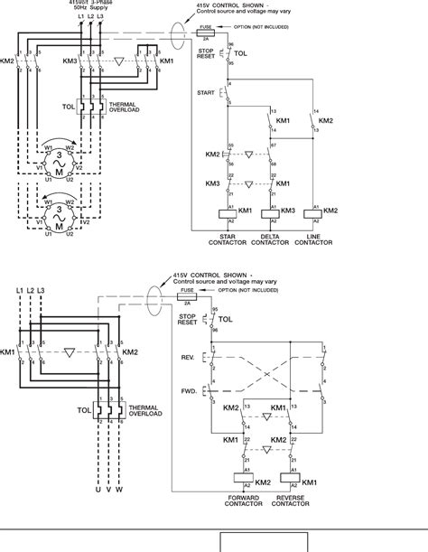
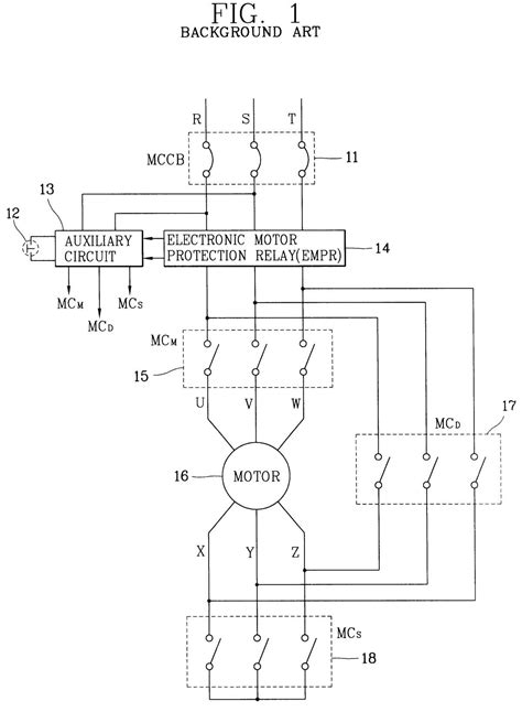
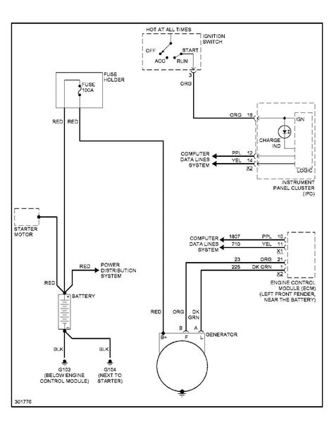
Starter Wiring Diagram

Starter Wiring Diagram
Starter Wiring Diagram

Embarking on a new electrical project can be both exciting and daunting. Whether you're a seasoned electrician or a DIY enthusiast, having a clear and accurate Starter Wiring Diagram is crucial for ensuring that your project runs smoothly and safely. A Starter Wiring Diagram serves as a roadmap, guiding you through the intricate web of wires, connections, and components that make up your electrical system. This guide will walk you through the essentials of creating and understanding a Starter Wiring Diagram, helping you to avoid common pitfalls and ensuring a successful project.

Understanding the Basics of a Starter Wiring Diagram

A Starter Wiring Diagram is a visual representation of an electrical circuit. It shows the components and how they are connected, providing a clear picture of the electrical flow. Understanding the basics of a Starter Wiring Diagram is the first step in any electrical project. Here are some key elements you should be familiar with:

  • Components: These include switches, relays, motors, and other electrical devices. Each component is represented by a specific symbol.
  • Wires: These are the conductors that carry electrical current from one component to another. They are usually represented by lines.
  • Connections: These are the points where wires connect to components. They are often shown as dots or small circles.
  • Power Source: This is the origin of the electrical current, typically represented by a battery or power supply symbol.

By familiarizing yourself with these elements, you'll be better equipped to read and create a Starter Wiring Diagram that accurately reflects your electrical system.

Creating a Starter Wiring Diagram

Creating a Starter Wiring Diagram involves several steps. Here’s a detailed guide to help you through the process:

Step 1: Gather Information

Before you start drawing, gather all the necessary information about your electrical system. This includes:

  • The type and number of components you will be using.
  • The power requirements of each component.
  • The layout of your system, including the placement of components.

Having this information at hand will make the diagramming process much smoother.

Step 2: Choose Your Tools

You can create a Starter Wiring Diagram using various tools, from simple pencil and paper to advanced software. Some popular options include:

  • Pencil and Paper: For small projects, a hand-drawn diagram can be quick and effective.
  • Computer Software: Programs like AutoCAD, Visio, or specialized electrical diagramming software can provide more precision and flexibility.

Choose the tool that best fits your needs and comfort level.

Step 3: Draw the Components

Start by drawing the components of your electrical system. Use standard symbols to represent each component. For example:

  • A switch might be represented by a line with a break in it.
  • A motor might be represented by a circle with an "M" inside.
  • A battery might be represented by a series of parallel lines.

Place the components in the diagram according to their physical layout in your system.

Step 4: Connect the Components

Next, draw the wires that connect the components. Use lines to represent the wires and dots or small circles to show where the wires connect to the components. Ensure that your connections are clear and accurate. This step is crucial for the functionality of your electrical system.

Step 5: Add Labels and Notes

Label each component and wire clearly. Include any necessary notes or annotations to provide additional context. For example, you might note the gauge of a wire or the voltage rating of a component. This will make your Starter Wiring Diagram easier to understand and follow.

📝 Note: Always double-check your diagram for accuracy before proceeding with your project. A small error in the diagram can lead to significant issues in your electrical system.

Common Mistakes to Avoid

Creating a Starter Wiring Diagram can be complex, and there are several common mistakes to avoid:

  • Inaccurate Symbols: Using incorrect symbols for components can lead to confusion and errors. Always use standard symbols.
  • Missing Connections: Forgetting to include all necessary connections can result in a non-functional system. Double-check your diagram to ensure all components are connected.
  • Incorrect Wire Gauge: Using the wrong wire gauge can lead to overheating or insufficient power supply. Make sure to specify the correct wire gauge in your diagram.
  • Lack of Labels: Without clear labels, your diagram can be difficult to understand. Label all components and wires clearly.

By avoiding these mistakes, you can create a Starter Wiring Diagram that is accurate and easy to follow.

Interpreting a Starter Wiring Diagram

Once you have your Starter Wiring Diagram, the next step is to interpret it correctly. Here are some tips to help you understand your diagram:

  • Follow the Flow: Start at the power source and follow the flow of electricity through the diagram. This will help you understand how the system works.
  • Identify Key Components: Pay attention to key components like switches, relays, and motors. These components often control the flow of electricity.
  • Check Connections: Ensure that all connections are clear and accurate. Look for any missing or incorrect connections.
  • Verify Labels: Make sure all components and wires are labeled correctly. This will help you identify each part of the system.

By following these tips, you can interpret your Starter Wiring Diagram accurately and ensure that your electrical system functions as intended.

Advanced Tips for Starter Wiring Diagrams

For more complex electrical systems, you might need to use advanced techniques to create and interpret your Starter Wiring Diagram. Here are some tips to help you:

  • Use Color Coding: Color-coding your wires can make your diagram easier to understand. Assign a specific color to each type of wire or component.
  • Include Multiple Views: For complex systems, include multiple views of your diagram. This can help you visualize the system from different angles.
  • Use Software Tools: Advanced software tools can provide additional features like 3D modeling and simulation. These tools can help you create a more accurate and detailed Starter Wiring Diagram.

By using these advanced tips, you can create a Starter Wiring Diagram that is both accurate and easy to understand, even for complex electrical systems.

Example of a Starter Wiring Diagram

To illustrate the concepts discussed, let's look at an example of a simple Starter Wiring Diagram for a basic electrical circuit. This diagram includes a power source, a switch, a motor, and a relay.

Component Symbol Description
Power Source || Represents the battery or power supply.
Switch --- Controls the flow of electricity.
Motor O Represents the motor that will be powered.
Relay R Controls the motor based on the switch position.

In this diagram, the power source is connected to the switch. When the switch is closed, electricity flows to the relay, which then activates the motor. This simple example demonstrates the basic principles of a Starter Wiring Diagram and how it can be used to visualize an electrical circuit.

📝 Note: Always test your electrical system thoroughly before putting it into use. This will help you identify any issues and ensure that your system is safe and functional.

In conclusion, a Starter Wiring Diagram is an essential tool for any electrical project. By understanding the basics, creating an accurate diagram, and interpreting it correctly, you can ensure that your electrical system functions as intended. Whether you’re a seasoned electrician or a DIY enthusiast, a well-crafted Starter Wiring Diagram will guide you through the complexities of your project and help you achieve success.

Related Terms:

  • wiring diagram for starter switch
  • how to wire starter correctly
  • automotive starter wiring diagram
  • 12v starter motor wiring diagram
  • simple motor starter wiring diagram
  • basic starter wiring diagram
Facebook Twitter WhatsApp
Related Posts
Don't Miss