Learning

Sound Insulation On Walls

Sound Insulation On Walls
Sound Insulation On Walls

Sound insulation on walls is a critical aspect of modern construction and home improvement, aimed at reducing noise pollution and enhancing the quality of life. Whether you're dealing with noisy neighbors, traffic sounds, or simply want to create a quieter, more peaceful living environment, understanding the principles and techniques of sound insulation on walls can make a significant difference. This guide will walk you through the essentials of sound insulation, from understanding sound transmission to implementing effective solutions.

Understanding Sound Transmission

Before diving into the specifics of sound insulation on walls, it's important to understand how sound travels and is transmitted through walls. Sound waves are vibrations that move through the air and can be absorbed, reflected, or transmitted through various materials. When sound waves hit a wall, they can cause the wall to vibrate, which in turn transmits the sound to the other side. This is why simply adding a layer of drywall or plaster may not be enough to effectively insulate against noise.

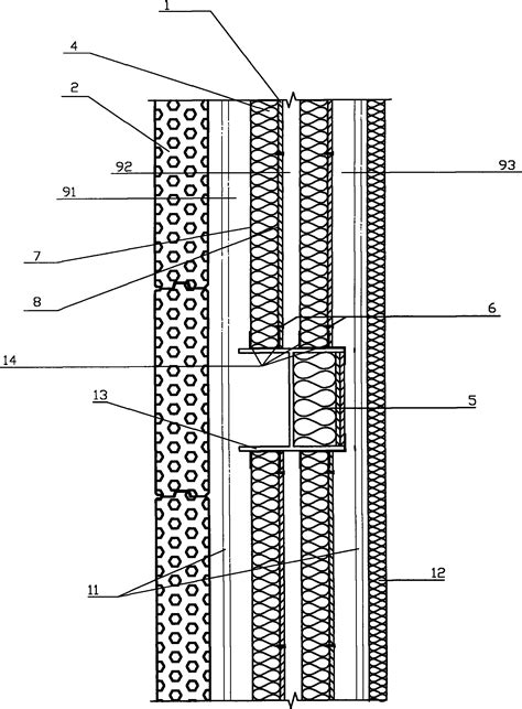
Types of Sound Insulation Materials

There are several types of materials commonly used for sound insulation on walls. Each has its own advantages and is suitable for different types of noise and wall structures. Here are some of the most effective materials:

  • Fiberglass Insulation: This is a popular choice for sound insulation due to its ability to absorb sound waves. It is typically installed within the wall cavities and can significantly reduce noise transmission.
  • Mineral Wool: Similar to fiberglass, mineral wool is another excellent sound-absorbing material. It is often used in commercial buildings but can also be effective in residential settings.
  • Acoustic Foam: This material is designed to absorb sound waves and is often used in recording studios and home theaters. It can be applied directly to walls or ceilings.
  • Mass-Loaded Vinyl (MLV): This is a dense, flexible material that adds mass to walls, making it harder for sound waves to pass through. It is often used in combination with other insulation materials.
  • Soundproof Drywall: This type of drywall is specifically designed to reduce noise transmission. It is thicker and denser than standard drywall and can be used in place of regular drywall for better sound insulation.

Steps to Implement Sound Insulation on Walls

Implementing sound insulation on walls involves several steps, from planning to execution. Hereโ€™s a detailed guide to help you through the process:

Assess the Noise Source

The first step is to identify the source of the noise. Is it coming from outside, such as traffic or neighbors, or from within the house, such as appliances or family activities? Understanding the source will help you determine the best approach for sound insulation.

Choose the Right Materials

Based on your assessment, select the appropriate sound insulation materials. For example, if the noise is coming from outside, you might opt for a combination of fiberglass insulation and mass-loaded vinyl. If the noise is from within the house, acoustic foam or soundproof drywall might be more suitable.

Prepare the Wall

Before installing any insulation materials, prepare the wall by removing any existing drywall or plaster. Ensure the wall is clean and free of debris. If you are working with an existing wall, you may need to cut out sections to access the wall cavity.

Install Sound Insulation Materials

Follow these steps to install the chosen sound insulation materials:

  • For fiberglass insulation or mineral wool, cut the material to fit the wall cavity and insert it securely. Ensure there are no gaps or voids.
  • For mass-loaded vinyl, attach it to the wall using adhesive or screws. Ensure it covers the entire surface area.
  • For acoustic foam, apply it directly to the wall using adhesive. Ensure it is evenly distributed and covers the areas where sound absorption is needed.
  • For soundproof drywall, install it in place of regular drywall. Ensure it is securely fastened to the studs.

Seal Gaps and Cracks

After installing the insulation materials, seal any gaps or cracks around windows, doors, and electrical outlets. Use acoustic caulk or foam sealant to ensure a tight seal. This step is crucial as even small gaps can significantly reduce the effectiveness of sound insulation.

๐Ÿ” Note: Pay special attention to areas where pipes, wires, or ducts pass through the wall, as these can be common points for sound leakage.

Add a Second Layer of Drywall

For added sound insulation, consider adding a second layer of drywall. This can be done by installing the second layer perpendicular to the first, creating a staggered stud pattern. This method, known as double-stud framing, can significantly enhance sound insulation.

Finish the Wall

Once the insulation materials are in place and all gaps are sealed, finish the wall with a layer of drywall or plaster. Ensure the surface is smooth and ready for painting or wallpapering.

Common Mistakes to Avoid

When implementing sound insulation on walls, there are several common mistakes that can compromise the effectiveness of your efforts. Here are some pitfalls to avoid:

  • Ignoring Gaps and Cracks: Even small gaps can allow sound to pass through, reducing the effectiveness of your insulation. Make sure to seal all gaps and cracks thoroughly.
  • Using Insufficient Materials: Choosing the wrong type or amount of insulation material can lead to poor results. Ensure you select materials that are suitable for your specific noise problem.
  • Not Considering the Entire Wall Structure: Sound insulation is not just about the materials you use; it's also about the overall structure of the wall. Ensure that the wall is properly framed and that all components are securely fastened.
  • Overlooking Other Noise Sources: Sometimes, noise can come from unexpected sources, such as plumbing or HVAC systems. Make sure to address all potential noise sources for comprehensive sound insulation.

Case Studies: Successful Sound Insulation Projects

To illustrate the effectiveness of sound insulation on walls, let's look at a couple of case studies:

Residential Sound Insulation

A homeowner in a busy urban area was experiencing significant noise from traffic and neighboring apartments. They decided to implement sound insulation on their bedroom walls. By installing fiberglass insulation within the wall cavities and adding a layer of mass-loaded vinyl, they were able to reduce noise levels by up to 50%. The homeowner reported a significant improvement in sleep quality and overall comfort.

Commercial Sound Insulation

A recording studio needed to enhance its soundproofing to ensure high-quality recordings. The studio walls were reinforced with acoustic foam and mineral wool, and all gaps were sealed with acoustic caulk. The result was a significant reduction in external noise, allowing for clearer and more professional recordings.

Maintenance and Upkeep

Once you have implemented sound insulation on your walls, it's important to maintain it to ensure its long-term effectiveness. Regularly inspect the walls for any signs of damage or wear, and address any issues promptly. Keep an eye out for gaps or cracks that may develop over time and seal them as needed. Additionally, avoid placing heavy objects or furniture against the walls, as this can cause damage to the insulation materials.

๐Ÿ› ๏ธ Note: Regular maintenance can extend the lifespan of your sound insulation and ensure it continues to perform effectively.

Sound insulation on walls is a valuable investment that can significantly enhance the comfort and quality of your living or working environment. By understanding the principles of sound transmission, choosing the right materials, and following the proper installation steps, you can effectively reduce noise pollution and create a quieter, more peaceful space. Whether youโ€™re dealing with external noise or internal disturbances, sound insulation on walls offers a practical and effective solution.

Related Terms:

  • best soundproofing internal walls
  • best soundproofing for interior walls
  • insulation wall panels for soundproofing
  • soundproofing for walls b&q
  • best sound insulation for walls
  • most effective soundproofing for walls
Facebook Twitter WhatsApp
Related Posts
Don't Miss