Learning

Mueller Fire Hydrant

Mueller Fire Hydrant
Mueller Fire Hydrant

In the realm of fire safety, the Mueller Fire Hydrant stands as a beacon of reliability and innovation. These hydrants are essential components of any fire protection system, providing a critical water supply for firefighters to combat blazes effectively. This post delves into the intricacies of Mueller Fire Hydrants, exploring their design, functionality, installation, and maintenance, ensuring that you have a comprehensive understanding of these vital pieces of equipment.

Understanding Mueller Fire Hydrants

The Mueller Fire Hydrant is a product of Mueller Water Products, a company renowned for its expertise in water infrastructure solutions. These hydrants are designed to withstand the rigors of fire suppression, offering durability, ease of use, and compliance with industry standards. The primary function of a fire hydrant is to provide a reliable water source for firefighters, enabling them to extinguish fires swiftly and efficiently.

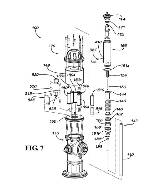
Design and Components

The design of a Mueller Fire Hydrant is meticulously engineered to ensure optimal performance. Key components include:

  • Barrel: The main body of the hydrant, which houses the internal mechanisms.
  • Operating Nut: The part that firefighters turn to open or close the hydrant.
  • Steamer Connection: A smaller outlet used for high-pressure water streams.
  • Pumper Connection: A larger outlet designed for high-volume water flow.
  • Drain Valve: Allows for the drainage of water from the hydrant to prevent freezing.

These components work in tandem to deliver water under high pressure, making the Mueller Fire Hydrant an indispensable tool in fire safety.

Types of Mueller Fire Hydrants

Mueller offers a variety of fire hydrants to suit different needs and environments. The main types include:

  • Dry Barrel Hydrants: Ideal for cold climates, these hydrants keep water below the frost line to prevent freezing.
  • Wet Barrel Hydrants: Suitable for warmer regions, these hydrants have water constantly in the barrel, ready for immediate use.
  • Flush-Mounted Hydrants: Designed for areas with limited space, these hydrants are installed flush with the ground.
  • Pedestal Hydrants: Elevated hydrants that are easier to access and operate.

Each type has its unique advantages, making it essential to choose the right one based on the specific requirements of the location.

Installation of Mueller Fire Hydrants

The installation of a Mueller Fire Hydrant involves several critical steps to ensure it functions correctly and safely. Here is a detailed guide:

  1. Site Preparation: Clear the area where the hydrant will be installed, ensuring it is accessible and free from obstructions.
  2. Foundation: Dig a hole deep enough to accommodate the hydrant and its base. Ensure the foundation is stable and level.
  3. Water Supply Connection: Connect the hydrant to the water supply line, ensuring a secure and leak-free connection.
  4. Assembly: Assemble the hydrant according to the manufacturer's instructions, ensuring all components are properly aligned and secured.
  5. Testing: Conduct a thorough test to ensure the hydrant operates correctly and delivers water at the required pressure.

🔧 Note: Always follow local regulations and guidelines when installing a Mueller Fire Hydrant. Proper installation is crucial for the hydrant's performance and safety.

Maintenance and Inspection

Regular maintenance and inspection are vital to keep a Mueller Fire Hydrant in optimal condition. Key maintenance tasks include:

  • Visual Inspection: Regularly check for signs of damage, corrosion, or leaks.
  • Operational Testing: Periodically test the hydrant to ensure it operates smoothly and delivers water at the correct pressure.
  • Lubrication: Lubricate moving parts to prevent rust and ensure smooth operation.
  • Winterization: In cold climates, drain the hydrant to prevent freezing and ensure it is protected from frost.

By adhering to a regular maintenance schedule, you can extend the lifespan of your Mueller Fire Hydrant and ensure it is ready for use when needed.

Common Issues and Troubleshooting

Even with proper maintenance, issues can arise with Mueller Fire Hydrants. Here are some common problems and their solutions:

Issue Solution
Leaking Hydrant Check for loose connections or damaged seals. Tighten connections and replace seals if necessary.
Difficulty Operating Lubricate moving parts and ensure the operating nut is not seized.
Low Water Pressure Inspect the water supply line for blockages or leaks. Ensure the hydrant is connected to a reliable water source.
Freezing Drain the hydrant and ensure it is protected from frost. Consider installing a dry barrel hydrant in cold climates.

Addressing these issues promptly can prevent more significant problems and ensure the hydrant remains functional.

Safety Considerations

Safety is paramount when dealing with Mueller Fire Hydrants. Here are some key safety considerations:

  • Proper Training: Ensure that all personnel are trained in the operation and maintenance of fire hydrants.
  • Clear Access: Keep the area around the hydrant clear of obstructions to allow easy access for firefighters.
  • Regular Inspections: Conduct regular inspections to identify and address any potential safety issues.
  • Emergency Procedures: Have clear emergency procedures in place in case of a malfunction or accident.

By adhering to these safety considerations, you can ensure that your Mueller Fire Hydrant is a reliable and safe component of your fire protection system.

In conclusion, the Mueller Fire Hydrant is an essential piece of equipment in any fire safety strategy. Its robust design, various types, and reliable performance make it a top choice for fire protection. Proper installation, regular maintenance, and adherence to safety guidelines ensure that these hydrants are always ready to serve their critical function. By understanding the intricacies of Mueller Fire Hydrants, you can enhance the safety and preparedness of your community, ensuring that firefighters have the tools they need to combat fires effectively.

Related Terms:

  • mueller a423 hydrant
  • mueller fire hydrant diagram
  • mueller fire hydrant price list
  • mueller fire hydrant identification
  • mueller hydrant catalog
  • mueller fire hydrant parts diagram
Facebook Twitter WhatsApp
Related Posts
Don't Miss