Learning

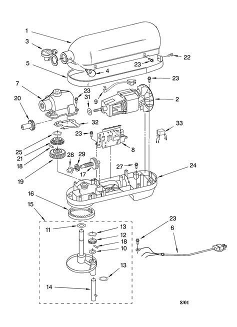
Kitchenaid Mixer Parts List

Kitchenaid Mixer Parts List
Kitchenaid Mixer Parts List

Owning a KitchenAid mixer is a delight for any baking enthusiast, but knowing how to maintain and repair it is essential for its longevity. Understanding the Kitchenaid Mixer Parts List can help you troubleshoot issues and perform necessary repairs. This guide will walk you through the various parts of a KitchenAid mixer, their functions, and how to maintain them.

Understanding the Basic Components

A KitchenAid mixer is composed of several key components, each playing a crucial role in its operation. Familiarizing yourself with these parts will make it easier to identify and fix any issues that arise.

Motor and Gearbox

The motor and gearbox are the heart of your KitchenAid mixer. The motor provides the power needed to mix ingredients, while the gearbox transfers this power to the mixing attachments. Regular maintenance of these components ensures smooth operation.

Mixing Bowl

The mixing bowl is where all the action happens. It comes in various sizes, typically 4.5 quarts or 5 quarts, and is designed to hold ingredients securely while mixing. The bowl should be cleaned thoroughly after each use to prevent residue buildup.

Mixing Attachments

KitchenAid mixers come with several mixing attachments, each serving a specific purpose:

  • Flat Beater: Ideal for mixing thick batters and doughs.
  • Dough Hook: Perfect for kneading bread dough.
  • Wire Whip: Great for whipping cream, egg whites, and other light mixtures.

These attachments should be cleaned and stored properly to maintain their effectiveness.

Control Panel

The control panel includes the speed settings and any additional features like a timer or pulse function. It's important to keep this area clean and free of debris to ensure accurate operation.

Detailed Kitchenaid Mixer Parts List

Here is a comprehensive list of the key parts that make up a KitchenAid mixer. Understanding each part will help you perform maintenance and repairs more effectively.

Part Name Function Maintenance Tips
Motor Provides the power for mixing Ensure proper ventilation and avoid overloading
Gearbox Transfers power to the mixing attachments Lubricate periodically to reduce wear and tear
Mixing Bowl Holds ingredients during mixing Clean thoroughly after each use
Flat Beater Mixes thick batters and doughs Clean and dry after each use
Dough Hook Kneads bread dough Clean and dry after each use
Wire Whip Whips light mixtures like cream and egg whites Clean and dry after each use
Control Panel Manages speed settings and additional features Keep clean and free of debris
Power Cord Provides electrical power to the mixer Check for fraying and replace if necessary
Splash Guard Prevents ingredients from splashing out Clean and dry after each use
Suction Feet Stabilizes the mixer during operation Ensure they are clean and functional

🔧 Note: Always unplug the mixer before performing any maintenance or repairs.

Maintaining Your KitchenAid Mixer

Regular maintenance is key to keeping your KitchenAid mixer in top condition. Here are some tips to help you maintain your mixer:

Cleaning the Mixer

Cleaning your mixer after each use is essential to prevent residue buildup and ensure longevity. Here are some steps to follow:

  • Unplug the mixer and remove the mixing bowl and attachments.
  • Wash the mixing bowl, attachments, and splash guard in warm, soapy water.
  • Wipe down the exterior of the mixer with a damp cloth.
  • Dry all parts thoroughly before storing.

💡 Note: Avoid submerging the mixer base in water.

Lubricating the Gearbox

The gearbox requires periodic lubrication to reduce wear and tear. Here’s how to do it:

  • Unplug the mixer and remove the mixing bowl and attachments.
  • Locate the gearbox access panel, usually on the underside of the mixer.
  • Apply a few drops of food-grade lubricant to the gearbox.
  • Reassemble the mixer and test it to ensure smooth operation.

🛠️ Note: Use only food-grade lubricant to avoid contamination.

Checking the Power Cord

The power cord is crucial for the mixer’s operation. Regularly inspect it for any signs of damage:

  • Check for fraying or exposed wires.
  • Ensure the plug is securely attached.
  • Replace the cord if any damage is found.

⚠️ Note: Always unplug the mixer before inspecting the power cord.

Troubleshooting Common Issues

Even with regular maintenance, issues can arise. Here are some common problems and how to troubleshoot them:

Mixer Won’t Turn On

If your mixer won’t turn on, check the following:

  • Ensure the mixer is plugged in securely.
  • Check the power outlet by plugging in another device.
  • Inspect the power cord for any damage.
  • Reset the mixer by unplugging it and plugging it back in after a few minutes.

Mixer is Making Strange Noises

Strange noises can indicate a problem with the gearbox or motor. Here’s what to do:

  • Unplug the mixer and remove the mixing bowl and attachments.
  • Inspect the gearbox for any debris or damage.
  • Lubricate the gearbox if necessary.
  • If the noise persists, consider professional repair.

Mixer is Leaking

Leaks can occur due to a damaged seal or improper assembly. Follow these steps:

  • Unplug the mixer and remove the mixing bowl and attachments.
  • Inspect the seals and gaskets for any damage.
  • Replace any damaged seals or gaskets.
  • Ensure all parts are properly assembled before use.

🛠️ Note: Always refer to the user manual for specific instructions on replacing parts.

Replacing Worn-Out Parts

Over time, some parts of your KitchenAid mixer may wear out and need replacement. Knowing how to replace these parts can save you time and money. Here are some common parts that may need replacing:

Mixing Attachments

Mixing attachments can become worn or damaged over time. Here’s how to replace them:

  • Unplug the mixer and remove the old attachment.
  • Clean the attachment shaft to remove any residue.
  • Attach the new mixing attachment securely.
  • Test the mixer to ensure proper operation.

Splash Guard

The splash guard can become cracked or warped. Here’s how to replace it:

  • Unplug the mixer and remove the old splash guard.
  • Clean the area where the splash guard attaches.
  • Attach the new splash guard securely.
  • Test the mixer to ensure proper operation.

Suction Feet

Suction feet can lose their grip over time. Here’s how to replace them:

  • Unplug the mixer and remove the old suction feet.
  • Clean the area where the suction feet attach.
  • Attach the new suction feet securely.
  • Test the mixer to ensure proper stability.

🛠️ Note: Always ensure that replacement parts are compatible with your specific mixer model.

Understanding the Kitchenaid Mixer Parts List and performing regular maintenance can significantly extend the life of your mixer. By following the tips and guidelines outlined in this guide, you can keep your KitchenAid mixer in optimal condition and enjoy many years of trouble-free baking.

Related Terms:

  • kitchenaid replacement parts catalog
  • kitchenaid mixer parts diagram
  • kitchenaid mixer parts list manual
  • kitchenaid mixer parts diagram pdf
  • kitchenaid mixer parts
  • kitchenaid mixer parts list pdf
Facebook Twitter WhatsApp
Related Posts
Don't Miss